Začátkem srpna jsem Vás informoval o tom, že Mazda připravuje převratné motory s novou technologií HCCI (poté správně uvedeno jako SPCCI) a budou nést označení Skyactiv-X.
Ovšem tentokrát vyplavala na povrch informace o novém patentu Mazdy, jež naznačuje, že automobilka pracuje na opravdu zajímavém projektu – twin-turbo motoru s elektrickým kompresorem. Do jakých modelů zavítá?
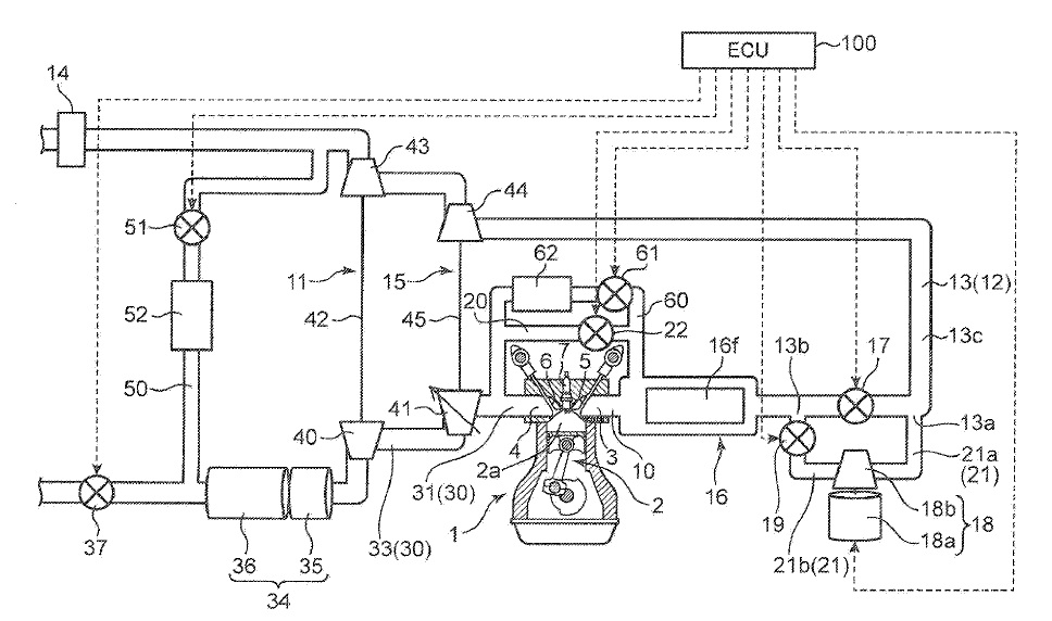
Zaregistrovaný patent ukazuje především to, že Mazda vyvíjí high-tech agregát s dvěma turbodmychadly a elektrickým kompresorem. Ten by se dostal „ke slovu“ zejména v nízkých otáčkách, kdežto ve vysokých by „zasáhla“ turbodmychadla využívající energii výfukových plynů.
Na první pohled se zdá, že jde o podobnou technologii, kterou představilo nedávno Volvo, pojmenovanou jako Drive-E Powertrain – jinými slovy, 2,0litrový motor byl vybaven systémem Tripple Boost. Samozřejmě to hned neznamená, že novinka od Mazdy bude mít výkon kolem 450 koní jako v případě Volva. Ovšem nabídla by řadu výhod, například vyšší výkon nebo praktický žádný turbo-lag.
Bohužel nejsou známy další informace o tom, jestli Mazda opravdu použije třikrát přeplňovaný motor nebo jde jen o technické cvičení do budoucna. Nicméně, podle spekulací by měl být elektrický kompresor poháněn pomocí systému i-ELOOP. Pomineme-li, jak bude kompresor vlastně poháněn, tak přiložené dokumenty napovídají, že tato koncepce se využívá hlavně u vozů s pohonem zadních kol.
Tím pádem se naskýtá spekulace, že by nový motor mohla dostat připravovaná výkonná MX-5 či nástupce RX-8. Jenomže patenty jsou jedna věc a realita zase druhá. Možná jde o motorizaci pro novou řadu MPS, vše ukáže čas.
Zdroj: carscoops.com



