Koncem srpna prolítla všemi médii zpráva o tom, že si Mazda patentovala podobný druh otevírání dveří jako tomu je u vozů Aston Martin.
Ovšem dneska se objevil další nově zaregistrovaný patent, tentokrát o to ještě zajímavější. Grafické návrhy zobrazují, že japonská značka chystá něco opět nevídaného v automobilismu a pravděpodobně se tím pochlubí očekávaný přírůstek rodiny RX.
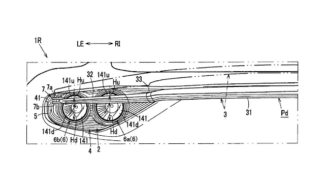
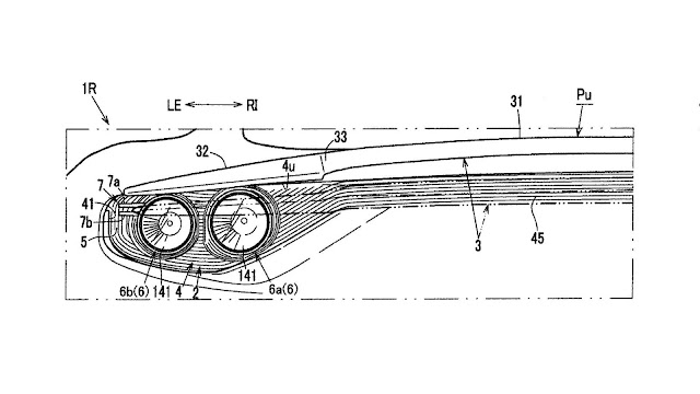
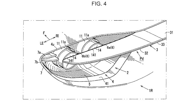
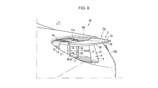
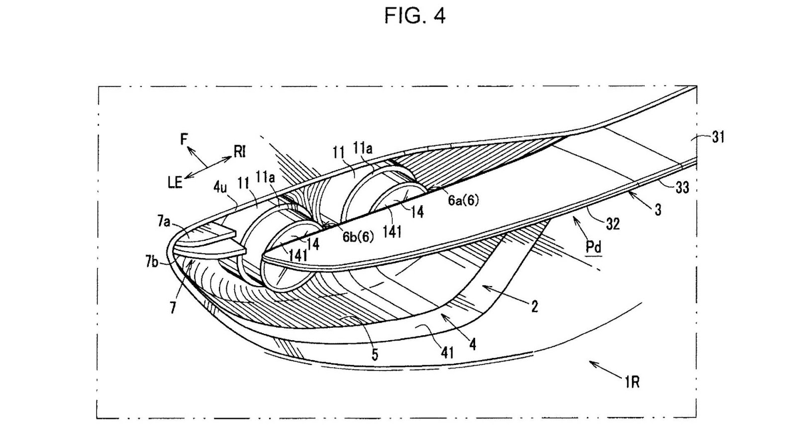
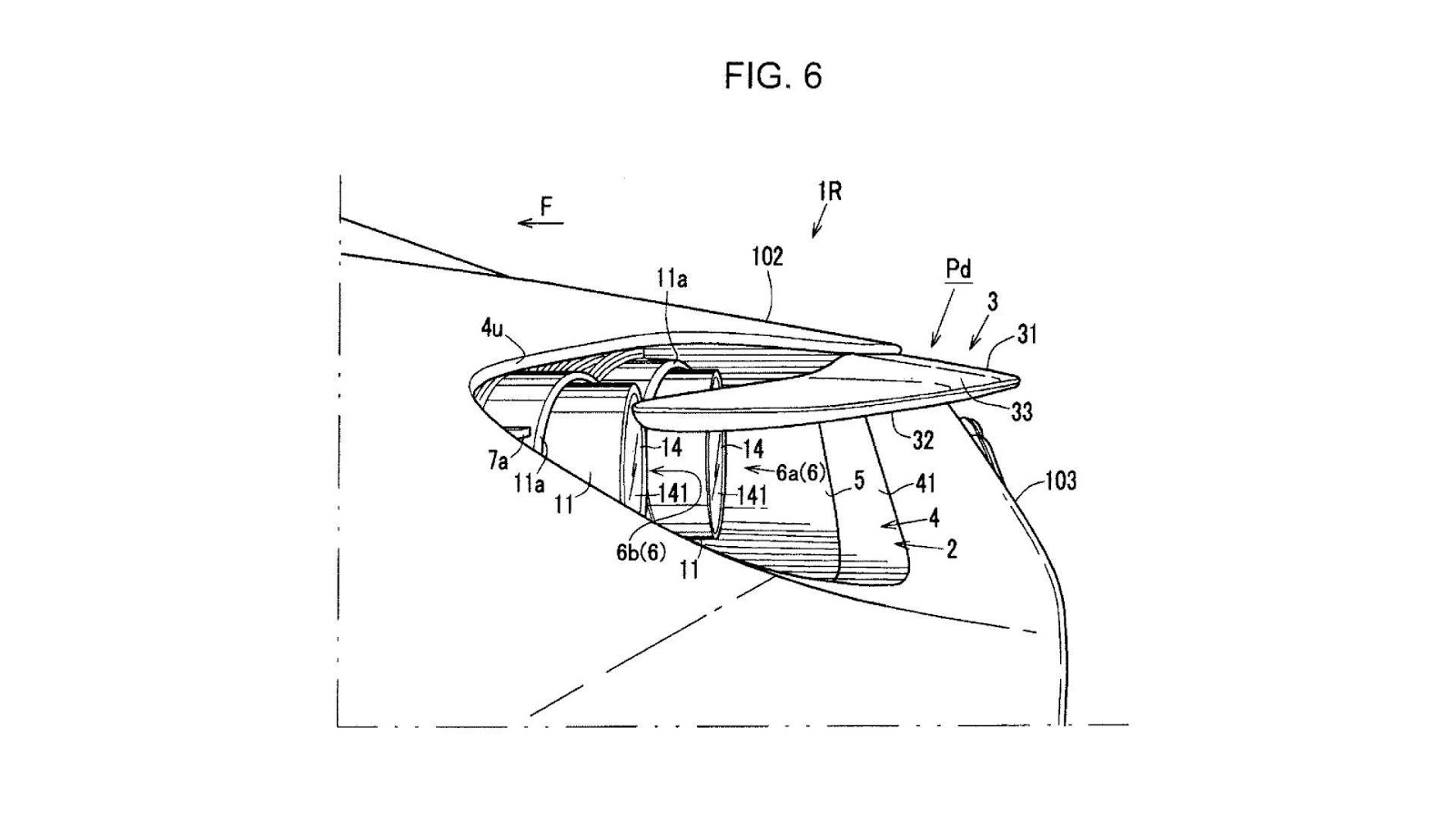
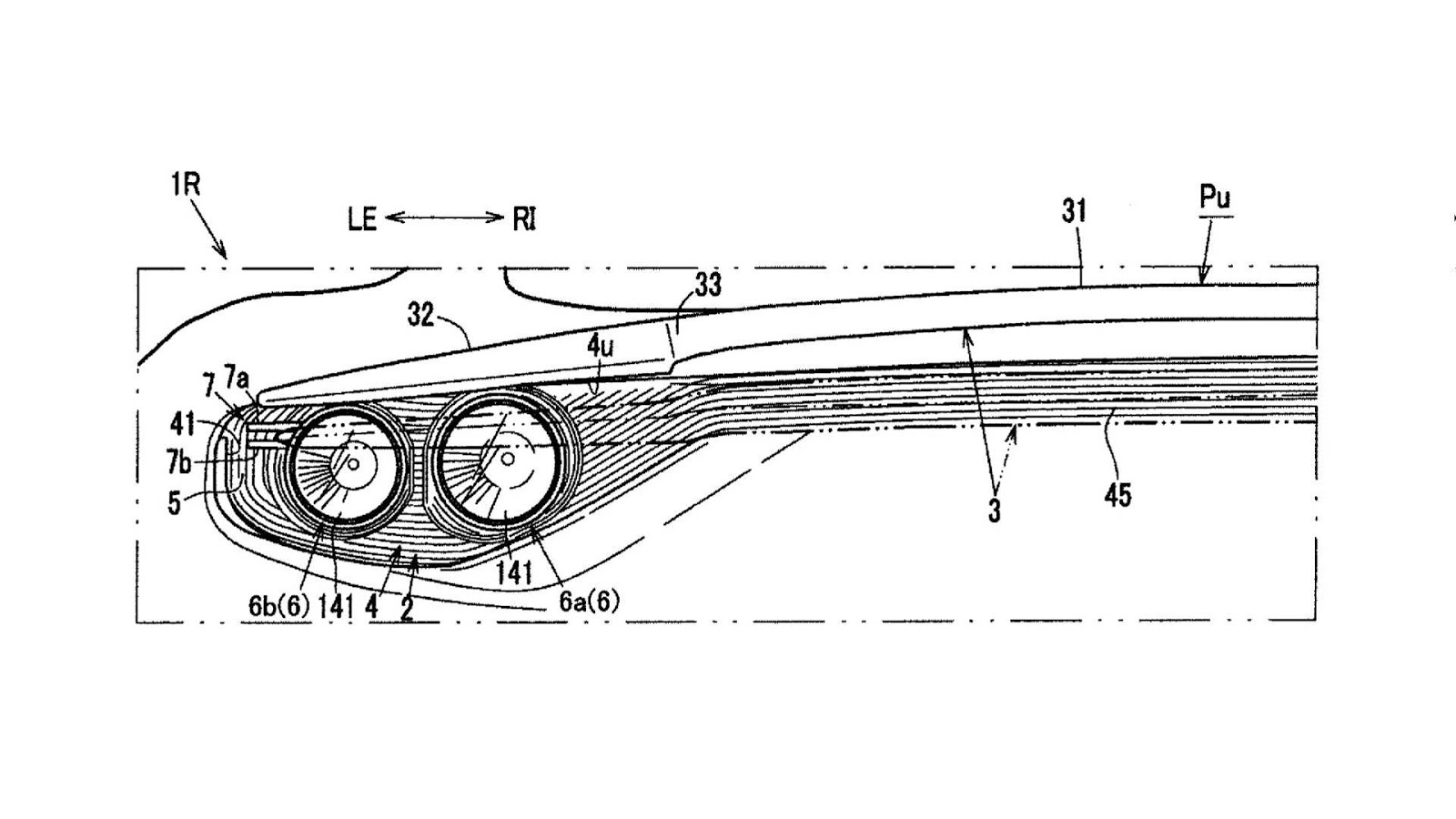
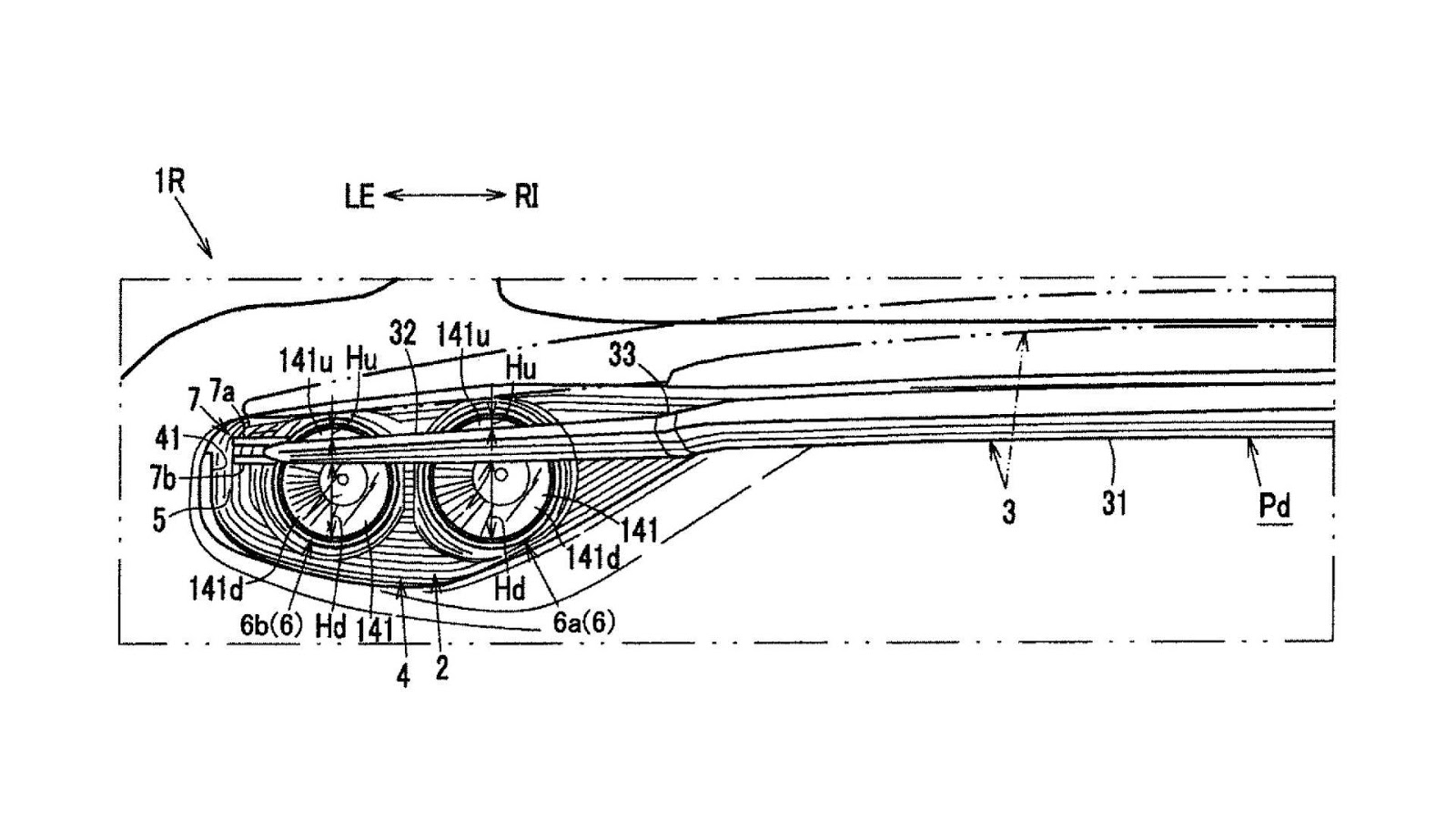
Mazda si nechala patentovat na americkém úřadu pro patenty a ochranné známky speciální zatahovací zadní křídlo, které se nesklopí do karoserie jako je tomu třeba u Audi RS7 Sportback, ale zajede do otevřeného prostoru v karoserii nad zadními lampami – k vidění bylo i na konceptu RX-Vision. Řešení od Mazdy je unikátní také v tom, že křídlo odpovídá šířce zádi a okolí si tak téměř nevšimne, když není vysunuté.
Samozřejmě přítomností nevídaného křídla dojde ke snížení turbulencí na zadku vozidla a zároveň ke zlepšení přítlaku na zadní kola. Prozatím Mazda nepotvrdila, zda tento patent bude použit do sériové výroby, ale vzhledem k tomu, čí záď je vyobrazena na výkresech, tak se ho pravděpodobně dočkáme u sériové Mazdy RX-9. Kdy? Během roku 2020, uvidíme.
Zdroj: carscoops.com











